REHAU SYNEGO

FFENESTRA SYNEGO predstavuje ďalšiu generáciu vysoko výkonných profilových systémov. Súčasný trh vyžaduje vyváženú rovnováhu medzi izoláciou, funkčnosťou, výkonnosťou a dizajnom. Nový systém FENESTRA SYNEGO so stavebnou hĺbkou 80 mm má vlastnosti izolácie zlúčiteľné s požiadavkami štandardu pasívneho domu. Je vybavený najmodernejšími stredovými a dorazovými tesneniami, ktoré spĺňajú najprísnejšie európske normy. Jeho špeciálna povrchová úprava HDF (High Defi nition Finishing) zaručuje vysokú odolnosť proti pôsobeniu agresívnych vonkajších vplyvov životného prostredia počas celej doby prevádzky. Svojim zákazníkom poskytuje riešenia pre takmer akúkoľvek výzvu. Vďaka svojim vlastnostiam je vhodný nielen pre novostavby s nízkou spotrebou energií a renovácie, ale poskytuje aj vysokú mieru flexibility. Je schopný reagovať na rôzne požiadavky zákazníkov v oblasti dizajnu ako sú úzky profil, veľké sklenené plochy v kombinácii s moderným vzhľadom, ale aj v oblasti farebného prevedenia od klasickej bielej cez ušľachtilé drevené dekóry až po trendové farby.

Profilový systém

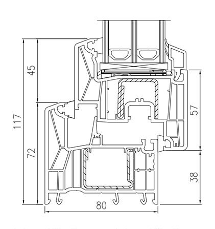
REHAU® SYNEGO® Uf ≤1,0 W/(m2 .K) - počet komôr  rám 7 a krídlo 6, dve dorazové tesnenia a jedno stredové tesnenie sivej farby pri bielych a čiernej farby pri farebných profiloch

Farby a povrchová úprava

Štandardné okno vyrábané s povrchom hladkým bielym podobná RAL 9016 - jemne štruktúrovaný s fóliou*

Zasklenie a výplne

Štandardné vyhotovenie s izolačným dvojsklom CLIMAPLUS® Ultra N 4-16- 4 Ug=1,1 W/(m2 .K), možnosť Ug=1,0 W/(m2 .K) alebo s izolačným trojsklom CLIMATOP® Ultra N 4-12-4-12-4 Ug=0,7 W/(m2 .K), možnosť Ug=0,6 W/(m2 .K) s AL alebo teplým rámikom.


Zasklievacie lišty


Tvary líšt podľa tvaru krídla: hranaté.


Kovanie


Celoobvodové kovanie s nastaviteľnými hríbikovými uzatváracími bodmi, rohovým a nožnicovým pántom - štandardná výbava OS okna: dva bezpečnostné uzatváracie body, trojpolohové štrbinové vetranie a poistka proti chybnej manipulácii.


Starostlivosť a údržba


Poskytujeme 2-ročnú záruku pri dodávke bez montáže a 2-ročnú záruku pri dodávke s montážou. Podmienkou záruky je pravidelná údržba podľa návodu na použitie. 


Ak máte záujem o viac informácií o tomto produkte alebo si chcete vyžiadať cenovú ponuku na mieru, napíšte nám prostredníctvom tohto formulára.


CHARAKTERISTIKA
HODNOTY / INFORMÁCIE
Systém
REHAU® SYNEGO®
Počet komôr
rám 7, krídlo 6
Hĺbka rámu
80 mm
Hĺbka krídla
80 mm
Počet tesnení
3
Súčiniteľ prechodu tepla
Uw = 0,76 - 1,2 W/(m2 .K) *
Zvuková izolácia
32-46 dB
Vodotesnosť
Trieda E1200
Odolnosť proti zaťaženiu vetrom
Trieda C5/B5
Prievzdušnosť
Trieda 4
Sklo pre okná (štandard)
4/16/4/16/4 CLIMATOP® XN Ug=0,6 *
Krídlo s mikroventiláciou
áno
Standardná farba
biela a farby podľa výberu


Okenné a dverové kovanie GU – bezpečnosť, komfort a kvalita.

Kovanie spoločnosti G-U typu UNI-JET v sebe zahŕňa Celoobvodové a bezpečnostné kovania GU | Skryté kovanie (u nás štandard) | Okenné a dverové kľučky HOOPE | Pákové mechanizmy | Tesnenia, vetracie systémy | Elektrické otváranie okien

Sme nároční na kvalitu okien

Každé moderné okno by malo, okrem estetickej kvality, spĺňať aj náročné technické a bezpečnostné požiadavky. Takéto okno musí dokonale tesniť po celom svojom obvode. Navyše by malo združovať otváravú a sklopnú funkciu. Nesmieme zabúdať na zvýšenú schopnosť okna odolávať vlámaniu a na najvyššie estetické požiadavky.
Systém, ktorý v sebe zahŕňa všetky tieto požiadavky kladené na moderné kovanie zo spoločnosti Gretsch Unitas, sa volá UNI-JET. Je to celoobvodové kovanie vhodné pre všetky typy okien, bez ohľadu na tvar a tradične využívaný materiál.

Skryté kovanie

Ako novinku Vám vieme ponúknuť skryté kovanie pri niektorých typoch okenných profilov, ktoré Vám zabezpečí čistú líniu a moderný estetický vzhľad okna. Toto riešenie poteší ako náročného zákazníka tak z praktického hľadiska každého užívateľa.

Základom je bezpečnosť

Po celom obvode okna má UNI-JET uzatváracie body vybavené hríbovými čapmi, ktoré znižujú možnosť násilného otvorenia okna. Možnosť použitia rôznych typov rámových uzáverov umožňuje zvyšovať bezpečnosť okna podľa potreby zákazníka. So štandardnými dielmi kovania UNI-JET a použitím oceľových uzatváracích čapov je možné dosiahnuť stupeň odolnosti proti vlámaniu WK2 podľa EN 1627 – 1630.

Komfort, ktorý je s kovaním UniJet samozrejmosťou

Celoobvodové kovanie UniJet spĺňa všetky požiadavky zákazníkov na komfort ovládania. Poistka proti chybnej manipulácii, škárové vetranie, zdvíhač krídla, ktorý uľahčuje manipuláciu s ťažkými krídlami či protiprievanová poistka, toto všetko je v štandarde.
Vďaka špeciálnej konštrukcii automatických hríbových čapov Cleverle je manipulácia s oknom vybaveným kovaním UNI-JET jednoduchá, ľahká a bezporuchová.

Povrchová úprava – viac ako štandard

Povrchová úprava kovania je základom jeho dlhoročného používania. Preto je UNI-JET upravované špeciálnou úpravou ferGUard s vysokou schopnosťou odolávať korózii. V porovnaní so štandardnou ponukou ostatných kovaní tak dosahuje niekoľkonásobne lepšie parametre, čo potvrdili náročné testy nezávislej skúšobne v Nemecku. Vďaka tejto úprave má kovanie príťažlivý strieborný vzhľad.


Video

Vzorkovník štandard

  • F436-5003 Antracitovo šedáF436-5003 Antracitovo šedá
  • 9152 05-168 Biela9152 05-168 Biela
  • F436-2075 Nussbaum-orechF436-2075 Nussbaum-orech
  • 2178 001-167 Zlatý dub2178 001-167 Zlatý dub

Rozšírený štandard

  • 49240 Winchester49240 Winchester
  • 3211 005-148 Irish Oak3211 005-148 Irish Oak
  • 2052089-167 Tmavý dub2052089-167 Tmavý dub
  • 1293010-195 Earl platinum1293010-195 Earl platinum
  • 1293001-195 Crown platinum1293001-195 Crown platinum
  • 1293002-195 Quartz platinum1293002-195 Quartz platinum
  • F436-1014 ALUX DB703F436-1014 ALUX DB703
  • F436-7049 TitaniumF436-7049 Titanium
  • F436-1001 AluminiumF436-1001 Aluminium
  • F436-5049 ŠedáF436-5049 Šedá

Neštandard

  • 8875 05-167 Schokobraun8875 05-167 Schokobraun
  • 3167 004-167 Močiarny dub3167 004-167 Močiarny dub
  • 3202 001-167 Black Cherry3202 001-167 Black Cherry
  • 1192 001-167 Oregon1192 001-167 Oregon
  • 3118 076-168 Prírodný dub3118 076-168 Prírodný dub
  • 3162 002-167 Macore3162 002-167 Macore
  • 3149 008-167 Rustikal.dub3149 008-167 Rustikal.dub
  • 6005 05-167 Moosgrün6005 05-167 Moosgrün
  • 3214009-195 Softcherry3214009-195 Softcherry
  • F436-3043 Cheery amarettoF436-3043 Cheery amaretto
  • F436-2001 SapeliF436-2001 Sapeli
  • F436-5010 PalisanderF436-5010 Palisander
  • F436-3031 Birke roseF436-3031 Birke rose
  • 49233 Siena PR rosso49233 Siena PR rosso
  • F436-3042 Noce sorrento balsamicoF436-3042 Noce sorrento balsamico
  • F436-3059 Siena PN noceF436-3059 Siena PN noce
  • F436-1006 Antracit metbrushF436-1006 Antracit metbrush
  • F436-5037 Achát.šedáF436-5037 Achát.šedá
  • F456-5053 Biela vrúbkovanáF456-5053 Biela vrúbkovaná
  • F456-5054 Krémovo bielaF456-5054 Krémovo biela
  • F436-3087 Shieffeld oak brownF436-3087 Shieffeld oak brown
  • F436-3086 Shieffeld oak greeyF436-3086 Shieffeld oak greey
  • F456-3081 Shieffeld oak lightF456-3081 Shieffeld oak light
  • F436-6003 Anthrazitgrau mattF436-6003 Anthrazitgrau matt
  • F436-6048 Basaltgrau mattF436-6048 Basaltgrau matt
  • F456-9016 Oxidgrau mattF456-9016 Oxidgrau matt
  • 470-3001 Woodec turner oak malt470-3001 Woodec turner oak malt

RAL vzorkovník

Štruktúrované sklá, okrasné sklá, ornamentálne sklá

  • SILVIT clearSILVIT clear
  • THELATHELA
  • MASTER - POINTMASTER - POINT
  • MASTER - LIGNEMASTER - LIGNE
  • MASTER - CARREMASTER - CARRE
  • MADERA clearMADERA clear
  • CHINCHILA clearCHINCHILA clear
  • KATHEDRAL MAXKATHEDRAL MAX
  • DUBOVÁ KORA clearDUBOVÁ KORA clear
  • DUBOVÁ KORA bronzDUBOVÁ KORA bronz
  • ALTDEUTSCH clearALTDEUTSCH clear
  • ALTDEUTSCH bronzALTDEUTSCH bronz
  • MateluxMatelux


Swispacer


Dnes sa štandardne dodávajú izolačné dvojsklá / trojsklá už s plastovým vymedzovacím rámčekom zvaným swisspacer a doteraz používané hliníkové dištančné rámiky sa už používajú zriedkavo.

Hliník, dokáže na kraji dvojskla vytvoriť tepelný most, ktorý sa vyznačuje svojou vodivosťou. V dôsledku tohto mosta sa okraj mosta často skvapalňuje, a tým stráca svoje pohodlie a zároveň dochádza aj k tepelným stratám.

Hlavne kvôli týmto, ale aj iným dôvodom je takzvaná –„teplá hrana“ dôležitou súčasťou šetrenia tepla. Swisspacer – teda „teplý rámik“ znižuje až 50-60% tepelných strát cez tepelný most, má teda extrémne nízku vodivosť.

Tepelné straty pri izolačných dvojsklách sú spôsobené veľmi nízkym koeficientom vodivosti swisspacera, ktorý sa vyrába z plastu so sklenenými vláknami, a tak zaručujú tepelnú vodivosť nižšiu ako 0,2 W/mK, teda 1000 krát menšiu, ako pri hliníkových, pri ktorých je vodivosť 200W/mK.

Swisspacer zaručuje nižšie náklady na vykurovania a lepšiu izoláciu, vyniká totiž svojou optimalizovaným odporom úniku tepla. Unikanie tepla je so swisspacerom minimálne o 0.1 W/m2K nižší, než pri klasických hliníkových rámčekoch.

Výsledok je teda taký, že náklady na vykurovanie sa znižujú o 5% vďaka swisspaceru. Redukuje to náš rozpočet a vďaka zníženiu emisií CO2 je aj šetrné k prostrediu.

Tým, že sa vyššie teploty zachovávajú na vnútorných hranách sklených tabúľ, značne sa znižuje možnosť vznikania zrážok. Toto ďalej znižuje vznik plesní na oknách.

Ako estetický prvok swisspaceru vyzdvihujeme to, že jeho spojovacie rošty sú pravouhlé a so svojím matným povrchom pôsobí harmonicky.Rámik swisspacer je svojím vzhľadom identický s hliníkovými rámikmi, preto ich použitie je možné u rovnakých typov dvojskiel.


Bezpečnostné sklá

Na ochranu proti vniknutiu vznikajú plošným spojením dvoch, či viacerých vrstiev skla a špeciálnych fólií s vysokou pevnosťou a elasticitou.

Vrstvené bezpečnostné sklo ESG (lepené bezpečnostné sklo VSG) je vynikajúcim prvkom pre bezpečnostné zasklievanie otvorov v stavebných konštrukciách a dá sa použiť aj v najnáročnejších architektonických návrhoch pri použití v horizontálnej, vertikálnej alebo šikmej polohe. Vrstvené sklo sa vyrába plošným spojením dvoch a viac vrstiev skla s jednou alebo niekoľkými vrstvami polyvinylbutyralovej fólie s vysokou pevnosťou, adhéziou a elasticitou.Pri rozbití vrstveného skla črepiny zostávajú na fólií, čím sa znižuje alebo úplne vylučuje poranenie osôb.

Pri vhodnej skladbe je vrstvené bezpečnostné sklo schopné klásť značný odpor aj pri opakovaných násilných útokoch (napr. kladivom, sekerou, streľbou a pod.) za účelom vniknutia do chráneného objektu (prienik pri zločineckom alebo teroristickom útoku). Vrstvené sklo vyrobené z reflexných skiel a skiel farbených v hmote umožňuje dosiahnuť širokú paletu farieb, ktoré sa vyznačuje vysokým estetickým efektom, ale aj veľmi účinnou ochranou proti slnečnému UV žiareniu.

Vrstvené bezpečnostné sklo sa využíva aj ako účinnú zvukovú izoláciu, ktorá narastá so zvyšujúcim počtom vrstiev skla. Bezpečnostné sklo vrstvené je použiteľné pri teplotách od -30°C do +60°C. Bezpečnostné sklo VBS V je možné použiť aj do izolačného skla.


Reflexné, protislnečné sklá

Tvoria účinnú ochranu proti slnečnému žiareniu. Tenkou vrstvou oxidov kovov alebo koncentráciou pigmentu vo farebných fóliách medzi vrstvami skla je možné.

Protislnečné sklá je možné rozdeliť na sklá:

  • s absorbčnou charakteristikou (sklá Planibel)
  • s absorbčnou a reflexnou charakteristikou (sklá Stopsol, Stopray, Solarbel)

Planibel – s absorbčnou charakteristikou zafarbené v hmote vo farbách bronz, zelená, šedá.

So vzrastajúcou plochou sklenej výplne stúpa preteplenie interiéru vplyvom slnečného žiarenia. Ak sa nahradí vonkajšia číra tabuľa sklom s absorbčnou či reflexnou charakteristikou, odbúrajú sa nepriaznivé vplyvy nadmerného vstupu slnečnej energie do miestnosti. To umožňuje podstatne znížiť náklady na udržiavanie prijateľnej teploty v interiéri v priebehu celého roka.

Stopsol – je reflexné protislnečné sklo s veľmi tenkou pyroliticky nanesenou vrstvou oxidov kovov. Táto vrstva je veľmi trvanlivá, a preto je možné orientovať ju tak von, ako aj dovnútra izolačného dvojskla. Orientácia vrstvy oxidov kovu ovplyvňuje hodnotu reflexie a rovnako konečný farebný odtieň skla. Sklo Stopsol sa vyrába v dvoch variantoch – Stopsol Classic so strieborným odrazom s ľahko jantárovým odtieňom a Stopsol Supersilver so strieborno-modrým leskom.

Stopray – je reflexné sklo s veľmi tenkou vrstvou vzácneho kovu, ktoré zabezpečuje vynikajúcu ochranu pred nežiadúcim vstupom slnečnej energie a zároveň významne zlepšuje tepelnoizolačné vlastnosti dvojskla. Vrstva vzácneho kovu na povrchu skla musí byť orientovaná vždy smerom do dutiny, aby nedošlo k jej poškodeniu. Stopray sa vyrába v širokej škále farebných odtieňov, čo z nej (spoločne s technickými charakteristikami) robí ideálny materiál pre architektúru. Významným argumentom pre použitie skla Stopray je okrem zmienených vlastností tiež fakt, že i napriek vysokej účinnosti ochrany proti vstupu slnečnej energie nie je obmedzený prestup tepla do interiéru.

Solarbel – je sklo, na ktorom sú elektromagneticky nanesené zliatiny kovov. Solarbel zaisťuje ochranu pred nadmerným vstupom slnečnej energie, pričom vykazuje široké spektrum hodnôt priepustnosti svetla a svetelného odrazu. Pokovena vrstva je vždy orientovaná smerom do dutiny. Použitím skla Solarbel v izolačnom dvojskle dochádza k nezanedbateľnému zlepšovaniu tepelnoizolačných vlastností.


Sklá s okrasnými a bezpečnostnými mriežkami

Medzi vrstvami skla v rôznych tvaroch, hrúbkach a povrchovej úprave.

Mriežky do skiel

Za účelom naviazania do starodávneho štýlu architektúry výrobca TOP-PLAST ponúka široký výber mriežok – dekoračných elementov do okien a dverí. Vďaka nim interiér získa výnimočné čaro a fasáda domu získa neopakovateľný vzhľad. Mriežky sú dostupné ako vnútorné /medzi tabuľami/ alebo vonkajšie /nalepené/. Dostupné sú v rôznych šírkach a farbách, môžeme ich prispôsobiť do individuálneho vzoru okna.


Izolačné sklo

SGG CLIMAPLUS / SGG CLIMATOP
Výrobok High–Tech v oblasti tepelných izolácií

Prečo sklo s tepelnoizolačnými vlastnosťami?
Sklom uniká vždy určité množstvo tepla z vykurovaných miestností. Ani u iných materiálov to nie je inak. Otázka je: koľko tepla musí uniknúť alebo koľko tepla sa môže stratiť? Na uvedenú otázku môžeme odpovedať: menej ako polovica oproti tradičným sklám.

V posledných rokoch prešiel vývoj tepelnoizolačných skiel veľmi rýchlym rozvojom a emisivita týchto skiel sa dostala až na hodnotu ε = 0,01.Nová generácia tepelnoizolačných skiel udržuje v dome teplo.

Čo to znamená pre Vás? Výrazné zníženie nákladov na vykurovanie a prostredie Vášho bytu bude bez chladných zón.

Znamená to však tiež mimoriadne veľké úspory energie, spojenej so znížením emisie plynov vzniknutých pri spaľovaní oxidu uhličitého a siričitého.

Podobný účinok, ako má katalyzátor v aute, má tepelnoizolačné sklo v dome: citeľne zlepšuje životné prostredie.Tepelnoizolačné sklá ochraňujú a šetria životné prostredie, šetria náklady na vykurovanie a zaisťujú príjemné prostredie bytu.

Poznámka:
Emisivita je definovaná ako pomer intenzity vyžarovania reálného telesa k intenzite vyžarovania abslolútne čierneho telesa s rovnakou teplotou.